MacBookのカラーは、それぞれがお好きなものを選んでいただければいいのだが、個人的にはスペースブラック/ミッドナイトを強くおすすめする。なぜなら、Apple渾身の特許技術が使われ、指紋がほぼつかなくなっているからだ。
MacBook Airにミッドナイトが新色として登場した当初、指紋が目立つのがネガティブに語られた。それが現在では大幅に解消されている。
長きにわたる、黒色のデバイスの課題
もしMacBook Proを買うなら、カラーはスペースブラックにすることをおすすめする。MacBook Airならミッドナイトだ。もちろん、カラーはそれぞれが好きなものを選んでいただければいい。だが、M5以降のMacBook Proのスペースブラック、M3以降のMacBook Airのミッドナイトは、黒いのに指紋がつかない技術が使われており、使っていて非常に気分がいいのだ。
一般に、黒いデバイスは渋くかっこいいが指紋が目立つという問題を抱えていた。実は、初期のMacやパソコンの多くが白やベージュといった明るい色が多かったのは、指紋がついても目立たないからだと言われている。もっとも身近なプラスチック樹脂素材は白に近いため、仕上がりが白であれば染料もほとんど必要なく製造コストが下げられる。ただし、白い樹脂は紫外線を浴びて黄ばみが出ることがあるので、それを目立たないようにするためベージュやアイボリーに仕上げることが多かった。
デバイスがパーソナル化していくと、当然ながら黒や青、赤といったカラーバリエーションが求められるようになる。しかし、黒は長年、指紋がベタベタつくことと戦わなければならなかった。2016年のiPhone 7は高光沢仕上げのジェットブラック。いわゆるピアノブラックを実現した画期的なものだったが、ユーザはクロスが手放せない指紋との戦いを強いられた。
iPhoneケースを使えば磨き作業から解放されるものの、せっかくの高光沢仕上げが楽しめない。実はAppleユーザは、2005年のiPod nano、iPod第5世代のブラック以来、もう20年も指紋と戦ってきたのだ。
「指紋20年戦争」を解決するAppleの新技術
Appleは、この20年戦争を最終的かつ不可逆的な解決をする新技術を開発した。それが米国特許US11751349「Anodized Part Having a Matte Black Appearance(マットブラックを呈する陽極酸化処理体)」だ。
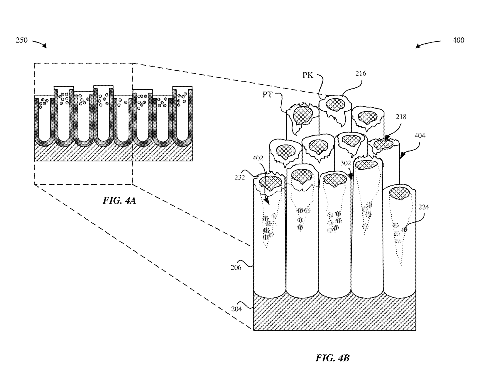
平面の光の反射には、鏡面反射と拡散反射の2種類がある。鏡面のように平らな面は入ってきた光を正確に反射する。鏡がその最たるものだ。一方、平面に凹凸がある面では光の反射がさまざまな方向に散らばる。さらに、光を吸収する仕組みがあると布地のようなマット面(艶消し)に見える。
鏡面反射の場合、指紋がつくと目立ちやすい。指紋の形に手の脂がつくと、そこだけ反射の方向が変わって目立つのだ。しかし、凹凸のあるマット面はもともと拡散反射をしているため、指紋がついても目立たない。つまり、黒であってもマット面に仕上げれば指紋は目立たなくなる。

アルミ素材のデバイスを保護するアルマイト加工
MacBookの筐体は、アルミニウム素材だ。アルミは空気に触れると表面に酸化膜ができ、腐食から保護される。しかし、この自然の酸化膜は薄く、硬いものに触れるとすぐに破れてしまう。たとえばカバンに入れて持ち歩くと、あちこちの酸化膜が破れ、破れた部分が再び酸化して傷だらけになる。
これでは商品として美しくない。そこで、多少のことでは膜が破れない厚さの酸化膜を意図的に作る。これがアルマイト加工だ。

このアルマイト加工では面白いことが起こる。電流をかけて酸化膜を作っていくと、ちょっとしたことで膜が溶け、その穴に電流は集中する。そして、そこを取り囲むように酸化膜が成長していく。最終的に蜂の巣のようなハニカム構造になるのだ。
このハニカム構造は非常に都合がいい。穴の中に染料を流し込んで定着させると、アルミ表面に着色できる。これにより、MacBookはさまざまなカラーバリエーションを実現している。
アルマイト加工のあと、削る。指紋対策と同時に上質さを演出
ただし、これだけだと指紋の問題は解決できない。チューブの端、つまり穴の上端は平面だからだ。そのため、ここに指紋がつくとやはり目立ってしまう。これが以前のMacBookの課題となっていた。
そこでAppleは、ハニカム構造ができたあと、ボール状のもので穴の上端を削る工程を追加した。これで穴の上端に凹凸ができて拡散反射するようになり、指紋が目立たなくなるというわけだ。
しかも、Appleの特許によるエッチングは非常に深い。そのため、光が谷間に吸い込まれて反射しなくなる割合が高くなる。すると、光が吸収されてマット感や色の深みの演出となる。


Appleは、この特許技術をM5以降を搭載するMacBook Proに使ったようだ。公式ニュースリリースにも「酸化皮膜シールを採用したスペースブラックの仕上げも選べます」と記載されており、この酸化皮膜シールが、今回紹介している特許のことではないかと見られる(Appleは公式にはコメントしていない)。
指紋がつかない気持ちよさ。今買うならスペースブラック、あるいはミッドナイト
また、MacBook Airにも酸化皮膜シール技術が使われているようだ。公式ニュースリリースには、わざわざ「指紋の付着を減らす画期的な酸化皮膜シールを採用しているミッドナイト」と記載されている。ただし一部の人によると、MacBook Airに使われている酸化皮膜シールは、今回の特許技術とはまた異なるものではないか、という見解もあるようだ。
しかし、MacBook Airにも指紋がつきづらくなっているのは確かである。筆者は実際に使っているが、指紋らしきものがつくことはあっても、アルコールで湿らせたクロスで拭くとすぐにきれいになって気持ちがいい。むしろ、ディスプレイの汚れのほうが気になるくらいだ。
というわけで、MacBookのカラーは好みに合わせて選んでいいという前提に立ちつつ、今買うのであればスペースブラックまたはミッドナイトを強くおすすめしたい。


おすすめの記事
著者プロフィール
牧野武文
フリーライター/ITジャーナリスト。ITビジネスやテクノロジーについて、消費者や生活者の視点からやさしく解説することに定評がある。IT関連書を中心に「玩具」「ゲーム」「文学」など、さまざまなジャンルの書籍を幅広く執筆。








